Einstiegsleuchte aus - undeinbauen
Golf
Je nach ausstattung ist eine einstiegsleuchte im außenspiegel eingesetzt.
Ausbau
- Zündung ausschalten.
- Außenspiegel aus der normalstellung gegen den widerstand nach vorne klappen.

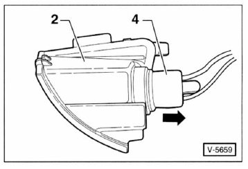
- Schraube - 1 - aus der einstiegsleuchte - 2 - herausdrehen.

- Einstiegsleuchte - 2 - in pfeilrichtung aus dem außenspiegel - 3 - herausziehen und dabei an den einraststellen ausclipsen.

- Lampenfassung - 4 - aus der einstiegsleuchte - 2 - herausziehen.
Glühlampe wechseln
- Einstiegsleuchte ausbauen.
- Glühlampe aus der fassung herausziehen und ersetzen.
- Neue glühlampe auf funktion überprüfen.
Siehe auch:
Seitliche verkleidung im fußraum
aus- und einbauen (touran)
Touran
Ausbau
Verkleidung - 1 - im vorderen bereich aus der aufnahme
herausziehen -pfeil a- und etwas nach vorne drücken
-pfeil b-.
Verkleidung - 1 - nach außen schwenken -pf ...
Glühlampen für Fernlicht / Tagesfahrlicht oder
Standlicht im Halogen-Scheinwerfer auswechseln
Abb. 53 Im Motorraum: Abdeckung für Fernlicht / Tagesfahrlicht und Standlicht.
Abb. 54 Glühlampen für Fernlicht / Tagesfahrlicht oder Standlicht aus- und
einbauen.
Ist eine Gl&u ...
Kraftstoff sparen beim fahren
Wesentlichen einfluss auf den kraftstoffverbrauch hat die
fahrweise des fahrzeuglenkers. Hier einige tipps für den intelligenten
umgang mit dem gaspedal:
Nach dem motorstart gleich losfahre ...


