Kühlmittelkreislauf
Zur kühlung des motors wird das kühlmittel von der kühlmittelpumpe ständig in bewegung gehalten. Solange der motor kalt ist, zirkuliert das kühlmittel nur im zylinderkopf, im motorblock und im wärmetauscher der innenraumheizung. Mit zunehmender erwärmung öffnet ein thermostat (kühlmittelregler) den großen kühlmittelkreislauf. Die kühlflüssigkeit durchströmt dann den kühler und wird dabei durch die an den kühlrippen vorbeistreichende luft abgekühlt.
Der kühlluftstrom wird durch einen hinter dem kühler angebrachten lüfter verstärkt. Der lüfter wird durch einen elektromotor angetrieben. Entsprechend der kühlmitteltemperatur wird der elektrolüfter zu- oder abgeschaltet.
Sicherheitshinweis
Der elektrolüfter kann sich auch bei ausgeschalteter zündung einschalten. Durch stauwärme im motorraum ist auch mehrmaliges einschalten möglich. Abhilfe: stecker für kühlerlüfter abziehen.
Achtung: bei arbeiten am kühlsystem unbedingt darauf achten, dass kein kühlmittel auf den zahnriemen gelangt.
Der glykolanteil des kühlmittels kann das gewebe des zahnriemens so schädigen, dass der riemen nach einiger betriebszeit reißt, wodurch schwer wiegende motorschäden auftreten können.
Hinweis: kühlmittelschläuche beim einbau spannungsfrei verlegen, ohne dass diese mit anderen bauteilen in berührung kommen. Falls an den kühlmittelrohren und kühlmittelschlauchenden markierungen oder pfeile angebracht sind, so müssen sich diese beim einbau gegenüberstehen.
Zweikreis-kühlsystem im 1,4-/1,6-l-fsi-benzinmotor
Der fsi-motor hat ein zweikreis-kühlsystem. Dabei erfolgt eine getrennte kühlmittelführung mit unterschiedlichen temperaturen durch den motorblock und den zylinderkopf. Gesteuert wird die kühlmittelführung durch 2 thermostate (kühlmittelregler) im kühlmittelregler-gehäuse. Ein thermostat ist für den motorblock, der andere für den zylinderkopf zuständig.
Das zweikreis-kühlsystem hat folgende vorteile:
- Der motorblock wird schneller aufgeheizt, weil das kühlmittel bis zum erreichen von +105 c im motorblock bleibt.
- Durch das höhere temperaturniveau im motorblock vermindert sich die reibung im kurbeltrieb.
- Eine bessere kühlung der brennräume durch das geringere temperaturniveau im zylinderkopf.
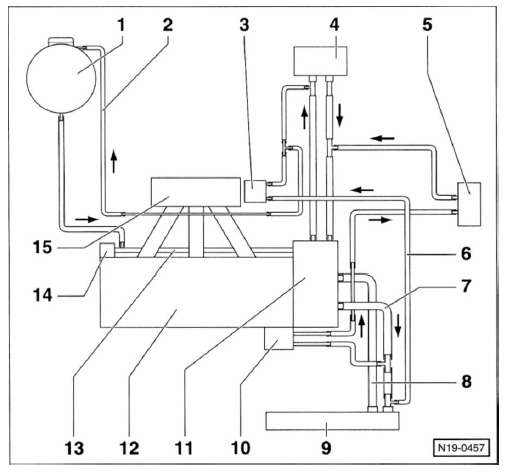
Anschlussplan für kühlmittelschläuche

Die abbildung zeigt den 1,4-/1,6-l-fsibenzinmotor mit 66/85 kw (90/115 ps).
- Ausgleichbehälter
- Kühlmittelschlauch vom abgasrückführventil.
- Abgasrückführventil
- Wärmetauscher für heizung
- Getriebeölkühler nur bei automatischem getriebe.
- Kühlmittelschlauch zum abgasrückführventil.
- Kühlmittelschlauch oben
- Kühlmittelschlauch unten
- Kühler
- Ölkühler nur 1,6-l-motor.
- Kühlmittelregler-gehäuse thermostatgehäuse.
- Zylinderkopf/zylinderblock (motorblock)
- Kühlmittelrohr
- Kühlmittelpumpe
- Ansaugrohr
Kennfeldkühlung im 2,0-l-fsi-benzinmotor
Die kennfeldkühlung besteht aus einem kühlmittelverteilergehäuse mit dehnstoff-thermostat, einem elektrischen heizelement sowie druckfedern zum mechanischen verschließen der kühlmittelkanäle.
Über den beheizbaren dehnstoff-thermostat wird die kühlmitteltemperatur vom motor-steuergerät anhand von dort gespeicherten kennfeldern auf einen, je nach leistungsabgabe des motors, optimalen wert geregelt.
Beispielsweise wird bei volllast das dehnstoffelement aufgeheizt und damit der thermostat weiter geöffnet. Dadurch reduziert sich die kühlmitteleintrittstemperatur, wodurch auch die brennräume stärker gekühlt werden. Kühlere brennräume erlauben einen früheren zündzeitpunkt und damit einen drehmomentgewinn.
Siehe auch:
Ford Fiesta ST, Peugeot 208 GTi, Renault Clio RS, VW Polo GTI: Krawall in kleinen Dosen
Irgendwie sind GTIs der Kompaktklasse doch längst in der Bürgerlichkeit angekommen – ähnlich wie eine Harley-Davidson. Wer heute noch automobil rebellieren will, wird hier kaum me ...
Glühlampen für innenleuchten auswechseln (golf)
Zündung und schalter der leuchte ausschalten.
Batterie abklemmen. Achtung: hinweise im kapitel "batterie
aus- und einbauen" beachten.
Stelle, an der ein schraubendreher für den ausb ...
Bremsanlage
Das arbeiten an der bremsanlage erfordert peinliche sauberkeit
und exakte arbeitsweise. Falls die nötige arbeitserfahrung
fehlt, sollten reparaturarbeiten an der bremsanlage
von einer fachwerk ...


