Kühlmittelregler prüfen
Alle, außer 1,4-/1,6-l-fsi-motor
Prüfen
- Kühlmittelregler ausbauen, siehe entsprechendes kapitel.
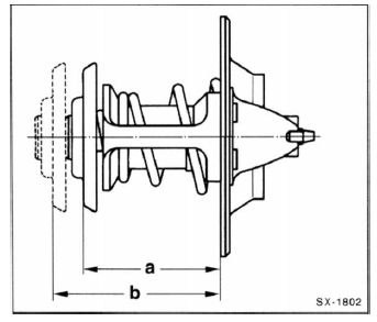
- Maß - a - am regler messen und notieren, siehe abbildung sx-1802.

- Regler im wasserbad erwärmen. Dabei darf der thermostat nicht die wände des behälters berühren.
- Temperatur mit einem thermometer kontrollieren und
öffnungsbeginn und -ende des reglers prüfen.


- Nach erhitzen des reglers auf ca. +100 C muss maß - b - gegenüber maß - a - um ca. 7 Mm größer sein. Der öffnungshub muss also mindestens 7 mm betragen.
Hinweis: beim 2,0-l-fsi-motor muss der öffnungshub von 7 mm nach mindestens 10 minuten in kochender kühlflüssigkeit und bei angelegter batteriespannung erreicht werden.
- Kühlmittelregler einbauen, siehe entsprechendes kapitel.
Siehe auch:
Glühlampen für innenleuchten
auswechseln (touran)
Touran
Zündung und schalter der leuchte ausschalten.
Batterie abklemmen. Achtung: hinweise im kapitel "batterie
aus- und einbauen" beachten.
Stelle, an der ein schraubendreher für ...
Vergleichstest: Golf GTD 2013 gegen Golf GTD 1983 ? Beide waren und sind Leuchttürme der Automobil-Technik
Das Kürzel GTD hat auf Dieselfahrer eine magische Wirkung und eine lange Tradition. Vor 31 Jahren debütierte der erste GTD und revolutionierte mit seinem aufgeladenen Diesel-Triebwerk den Ma ...
Glühlampe für Blinklicht im Halogen-Scheinwerfer
auswechseln
Abb. 51 Im Motorraum: Abdeckung für Blinklicht
Abb. 52 Glühlampe für Blinklicht aus- und einbauen
Ist eine Glühlampe ausgefallen, kann entweder die Glühlampe defekt oder ...


