Saugrohr/kraftstoffverteiler/einspritzventile
Volkswagen Golf / Volkswagen Golf Reparaturanleitung / Motor-management / Benzin-einspritzanlage / Saugrohr/kraftstoffverteiler/einspritzventile
1,4-L-benzinmotor bca

- Ölmessstab
- Schraube, 20 nm
- Kraftstoffverteiler mit einspritzventilen
- Drosselklappen-steuereinheit
- Schraube, 7 nm
- Dichtring bei beschädigung ersetzen.
- Verbindungsschlauch für abgasrückführung.
- Schraube, 7 nm
- Verbindungsrohr für abgasrückführung.
- Dichtring immer ersetzen.
- Saugrohr
- Dichtring immer ersetzen.
- O-ring bei beschädigung ersetzen.
- Geber für saugrohrdruck mit geber für ansauglufttemperatur
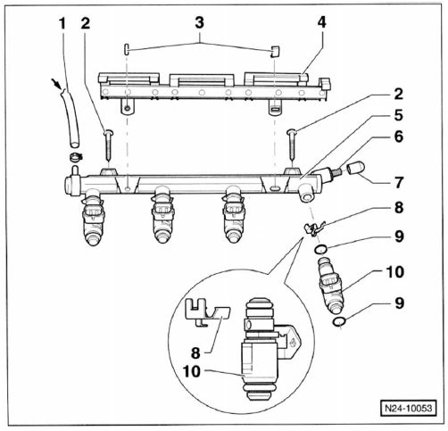
1,4-L-benzinmotor bca

- Vorlaufleitung vom kraftstofffilter. Auf festen sitz achten. Mit federbandschellen sichern.
- Schraube, 7 nm
- Befestigungsclip auf unterschiedliche ausführung achten.
- Leitungsführung aul kraftstoffverteiler aufgeclipst.
- Kraftstoffverteiler
- Entlüftungsventil für kraftstoffanlage.
- Schutzkappe für entlüftungsventil.
- Halteklammer auf richtigen sitz am einspritzventil achten.
- O-ring immer ersetzen. Vor dem einbau leicht mit sauberem motoröl benetzen.
- Einspritzventil
Siehe auch:
Schneeketten
Schneeketten dürfen ? auch bei Allradfahrzeugen (4MOTION) ? nur an den
Vorderrädern und nur auf
folgenden Reifen- und Felgenkombinationen montiert werden:
Wir empfehlen Ihnen, sich bei ...
Schiebe- und Ausstelldach notschließen
Bei einem Defekt kann das Schiebe- und Ausstelldach manuell geschlossen
werden.
Abb. 42 Im Dachhimmel: Abdeckung entfernen.
Abb. 43 Innensechskantschraube zum Schließen des Schiebe- und A ...
Kühlmittelpumpe aus- und einbauen
1,4-/1,6-L-fsi-benzinmotor bkg/bln/bag/blf/blp
Hinweis: da bei den anderen motoren zunächst der zahnriemen
ausgebaut werden muss, bevor die kühlmittelpumpe
zugänglich ist, werden aus ...


