Tür einstellen (golf)
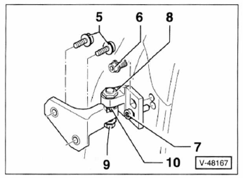
Scharnier oben

5 - Schrauben, 20 nm + 90
6 - Schraube, 20 nm + 90c
7- Führungsschraube, 10 nm
8 - Exzenterbolzen mit sechskantkopf zum verstellen.
9 - Kontermutter, 28 nm
10 - Anschlag
Scharnier unten

1 - Schraube, 20 nm + 90
2 - Schraube, 20 nm + 90 nur vom fahrzeuginnenraum zugänglich.
3 - Schraube, 20 nm + 90
4 - Führungsschraube, 10 nm
Achtung: die schrauben sind selbstsichernd und müssen nach dem lösen immer durch neue ersetzt werden. Ausnahmen sind die führungsschrauben.
Tür einstellen
- Spaltmaße der tür prüfen. Die tür ist richtig eingestellt, wenn sie im geschlossenen zustand überall ein gleichmäßiges spaltmaß hat, nicht zu weit nach innen oder außen steht und die konturen mit den umliegenden karosserieteilen fluchten. Die hintere tür darf maximal 1 mm weiter innen stehen als die vordertür.
Spaltmaße/golf, sollwerte:
Tür vorn - kotflügel vorn: 3,5 *0 , 5 mm
Tür vorn - kotflügel hinten (2-türer): 3,51 -5 mm
Tür vorn - tür hinten (4-türer): 4,21 0 , 5 mm
Tür hinten - kotflügel hinten (4-türer): 3,51 0 , 5 mm
Tür - türschweller: 4,5 * 0,5 mm
- Falls die sollwerte nicht eingehalten werden, schließbügel an der karosserie abschrauben und türscharniere lockern. Dazu oben scharnierschrauben - 5 - und unten scharnierschrauben - 1 / 2 - lockern.
Hinweis: um die schraube - 2 - zu lockern, muss zuvor die a-säulenverkleidung unten beziehungsweise bei der hintertür die b-säulenverkleidung unten ausgebaut werden, siehe seite 255/256.
- Tür durch verschieben ausrichten.
Hinweis: andere einstellmaßnahmen, wie zum beispiel das richten der tür nach oben, sind wirkungslos, weil die tür danach wieder absackt.
- Zum einstellen der konturbündigkeit scharnierschrauben - 3 - und - 6 - sowie die führungsschrauben - 4 - und - 7 - lockern und tür ausrichten.
Hinweis: bei geringfügigem nachstellen der konturbündigkeit kontermutter - 9 - am oberen scharnier lockern und exzenterbolzen - 8 - am sechskantkopf verdrehen.
Nach dem einstellen scharnierschrauben mit 20 nm anziehen und danach mit einem starren schlüssel v* umdrehung (90) weiterdrehen. Die führungsschrauben - 4 / 7 - mit 10 nm festziehen

- Schließbügel - 1 - anschrauben und schrauben - p f e i l e - handfest anziehen, so dass der schließbügel leicht verschoben werden kann.
- Tür schließen. Dadurch wird der schließbügel ausgerichtet.
Anschließend tür vorsichtig öffnen und schließbügel mit 20 nm festschrauben.
Siehe auch:
Verkleidung b-säule aus- und einbauen (golf)
Golf
Obere verkleidung
Ausbau
Achtung: unbedingt airbag-sicherheitshinweise beachten,
siehe seite 148.
Um ein auslösen des kopf-airbags zu verhindern, zündung
ausschalten, zuerst m ...
Abdeckung der Fahrzeugbatterie abnehmen
Abb. 19 Im Motorraum: Prinzipdarstellung zum Abnehmen der Abdeckung der
Fahrzeugbatterie.
Abb. 20 Im Motorraum: Prinzipdarstellung zum Aufklappen der Manschette der
Fahrzeugbatterie.
Die Lag ...
Wie funktioniert die automatische
Distanzregelung?
Vorausfahrende Fahrzeuge werden mit Hilfe eines Lasersensors erkannt.
Abb. 49 Prinzipdarstellung: Sensorenbereich der automatischen Distanzregelung.
Abb. 50 Prinzipdarstellung: Messbereich der a ...


