Tür aus- und einbauen/einstellen (touran)
Hinweis: die hintertür wird in gleicher weise ausgebaut und eingestellt wie die vordertür.
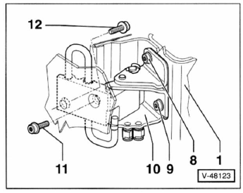
Scharnier oben

- Tür
- Schraube, 20 nm + 90
- Mutter, 14 nm
- Scharnierbolzen
- Türscharnier oben
- Schraube, 20 nm + 90 nur vom fahrzeuginnenraum zugänglich.
- Schraube, 20 nm + 90
Scharnier unten

1 - Tür
8 - Schraube, 20 nm + 90
9 - Untere schraube, 20 nm + 90
10 - Türscharnier unten mit türbremse.
11 - Schraube, 20 nm + 90 nur vom fahrzeuginnenraum zugänglich.
12 - Schraube, 20 nm + 90
Achtung: die schrauben sind selbstsichernd und müssen nach dem lösen immer durch neue ersetzt werden.
Ausbau
- Tür öffnen.

- Auf den rasthaken drücken -pfeil a- und faltenbalg - 1 3 - von der a-säule ziehen.
- Verriegelungshebel -14- nach unten schwenken -pfeil b- und stecker -15 von der kupplung an der a-säule abziehen.
- Mutter - 3 - vom scharnierbolzen -4- am oberen scharnier abschrauben.
- Schraube unten - 9 - am unteren scharnier herausdrehen, dabei spezialschlüssel verwenden, zum beispiel hazet 2597 mit vielzahn-bit und werkzeughalter hazet 6396.
Achtung: zum ausbau der tür nur die untere schraube - 9 - aus dem unteren scharnier herausdrehen.
- Tür nach oben aus den scharniern herausheben und auf einer weichen unterlage ablegen.
Einbau
- Der einbau erfolgt im umgekehrter ausbaureihenfolge.
- Neue untere schraube - 9 - mit 20 nm anziehen und anschließend mit einem starren schlüssel v" umdrehung (90) weiterdrehen.
- Mutter - 9 - mit 14 nm oben am schamierbolzen festziehen.
- Tür schließen und spaltmaße prüfen. Gegebenenfalls tür einstellen, siehe entsprechendes kapitel.
Tür einstellen
Spaltmaße der tür prüfen. Die tür ist richtig eingestellt, wenn sie im geschlossenen zustand überall ein gleichmäßiges spaltmaß hat, nicht zu weit nach innen oder außen steht und die konturen mit den umliegenden karosserieteilen fluchten. Die hintere tür darf maximal 1 mm weiter innen stehen als die vordertür.
Spaltmaße/touran, sollwerte:
Tür vorn - kotflügel vorn: 3,0 *1 mm
Tür vorn - tür hinten: 3,9 *1 mm
Tür hinten - kotflügel hinten: 3,0 *1 mm
Tür - türschweller: 4,0 mm
- Falls die sollwerte nicht eingehalten werden, schließbügel an der karosserie abschrauben.
- Türscharniere lockern. Dazu oben scharnierschrauben -6/7- und unten scharnierschrauben -11/12- lockern.
Hinweis: um die schraube - 6 - zu lockern, muss die armaturentafel beziehungsweise bei der hintertür die b-säulenverkleidung oben ausgebaut werden, siehe seite 251/262.
Hinweis: um die schraube - 1 1 - zu lockern, muss zuvor die a-säulenverkleidung unten beziehungsweise bei der hintertür die b-säulenverkleidung unten ausgebaut werden, siehe seite 261/262.
- Tür durch verschieben ausrichten.
Hinweis: andere einstellmaßnahmen, wie zum beispiel das richten der tür nach oben, sind wirkungslos, weil die tür danach wieder absackt.
- Zum einstellen der konturbündigkeit scharnierschrauben - 2 - und - 8 / 9 - lockern und tür ausrichten.
- Nach dem einstellen scharnierschrauben mit 20 nm anziehen und danach mit einem starren schlüssel v* umdrehung (90) weiterdrehen.
- Schließbügel anschrauben und schrauben handfest anziehen, so dass der schließbügel leicht verschoben werden kann.
- Tür schließen. Dadurch wird der schließbügel ausgerichtet.
Anschließend tür vorsichtig öffnen und schließbügel mit 20 nm festschrauben.
Siehe auch:
Sicherheits- und sauberkeitsregeln bei arbeiten an der kraftstoffversorgung
Das kraftstoffsystem steht unter druck! Vor dem lösen
der schlauchverbindungen den druck abbauen.
Dazu tankdeckel kurz öffnen und wieder schließen. Einen
dicken putzlappen um die ...
Leerlaufdrehzahl/zündzeitpunkt/ co-gehalt
prüfen und einstellen
Im rahmen der wartung ist es nicht erforderlich, leerlaufdrehzahl,
zündzeitpunkt und co-gehalt einzustellen, da die
werte permanent elektronisch nachgeregelt werden.
Falls die tatsächli ...
Glühlampe im Nebelscheinwerfer auswechseln
Abb. 57 Abbildung A: Nebelscheinwerfer ausbauen (Golf); Abbildung B:
Glühlampe im Nebelscheinwerfer
ausbauen (Golf).
Abb. 58 Abbildung A: Abdeckung in der Radhausschale ausbauen (Golf GTI ...


